我们直接来看如下关键词排名效果!这个新建的网站关键词的排名在使用我们的优化平台结合优化方案后,排名效果有目共睹,新网站关键词排名上首页,不再只是说说而已!
网站关键词优化排名的最佳效果
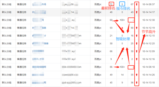
注:像网站的关键词最初排名72、93、86名等皆可排名上百度PC首页前十,当然像初排60、86~100 这种情况发生,这是什么回事呢?
因为每个词都会存在同行的竞争优化,这意味着词的竞争力越来越大,同行设置的优化力度比你大,网站关键词排名便会出现这类优化情况。我们网站关键词优化平台对于这类情况有智能处理等方案,进行调节优化网站关键词在百度上的排名。
※:目前我们有各种的对于像新站优化排名、网站优化提升权重、整站优化等网站排名关键词排名优化的方案,都是符合目前各大搜索引擎的排名原理,智能处理也在其中!
网站关键词自动排名首页系统新站、整站关键词排名优化的最好选择!
我们再来看一下这位新站优化排名用户的网站在5118上网站关键词优化后排名的具体趋势:

百度新站、整站关键词排名优化选择网站关键词自动排名首页系统,你也行以!